
1.探桿安裝處不能有干擾,如攪拌器、入料口等。探桿不能彎曲受力,不允許受較大的沖擊或振動。探桿上的磁浮子應能自由上下滑動,不能被其它物體擋住。
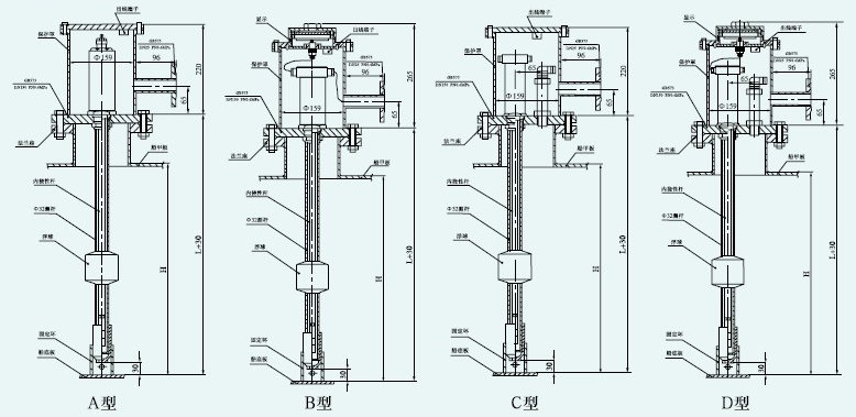
2.液位計必須垂直安裝,安裝斜度不得大于5度。安裝浮球時有標記的半球應在液面之上。下限位鎖緊環固定時,鎖緊環上端應與桿底部標記線平齊,見外形尺寸圖。
3.液位計電子部件防濺但不可浸沒,不能讓液體浸至過程連接的六角上方。必要時對電子倉進行保護處理。
4.液位計在易燃、易爆、腐蝕的蒸汽和液體等場合使用時,必需有防護措施給予保護。
5.液位計的連接電纜線必須避開大功率電源、射頻信號源和其它有噪聲的傳輸線等。
磁致伸縮液位計選型注意事項
1.液位計選型應與現場介質環境相符,包括環境溫度、壓力、振動、沖擊、結構材料與介質的相容性等。
2.被測介質溫度較高時(100~200℃),推薦選配帶外浮筒型的探頭(選型表選項B),采用側側法蘭安裝。溫度更高時(200~300℃),推薦選配帶外浮筒側面***型的探頭(選型表選項C),采用側側法蘭安裝。
3.測量探桿上下兩端有測量死區,選擇量程時應予以考慮,見外形尺寸圖。
4.液位計常用不銹鋼磁浮子的尺寸為Ф45×56×Ф15,須選用DN50及以上的法蘭連接才行。對于選用螺紋連接的液位計,用戶需要自配法蘭或支架安裝。

全國統一服務熱線
1551658502615516585026
掃一掃 關注我們